Глава 9. Функциональные схемы управления электроприводами.
Содержание главы:
- 9.1. Схема 1
- 9.2. Схема 2
- 9.3. Схема автоматического управления асинхронным двигателем в функции скорости
- 9.4. Схема автоматического управления динамическим торможением асинхронного двигателя
- 9.5. Схема автоматического управления двигателем постоянного тока
- 9.5.1. Автоматизация пуска двигателя
- 9.5.2. Автоматизация реверса
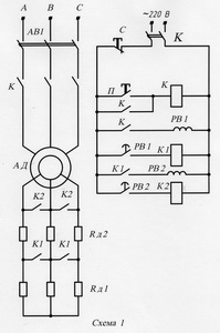
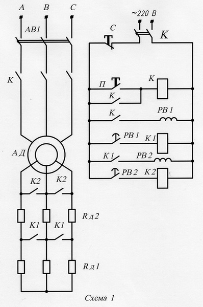
9.1. Схема 1.
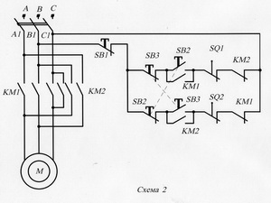
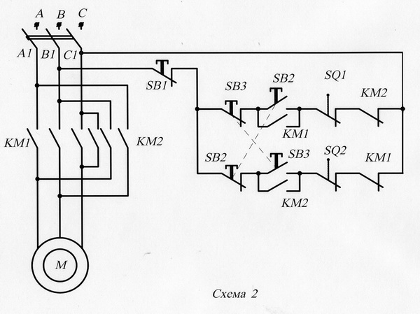
9.2. Схема 2.
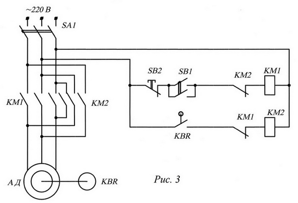
9.3. Схема автоматического управления асинхронным двигателем в функции скорости.
Рассматриваемая схема позволяет осуществить режим торможения асинхронного двигателя противовключением («быстрый останов») с помощью реле контроля скорости (РКС).
РКС устанавливается непосредственно на валу асинхронного двигателя и в основе его функционирования лежит асинхронный принцип работы. При включении двигателя, как только частота вращения его вала ( а следовательно и вала реле) становится отличной от О, РКС срабатывает и замыкает свой замыкающий контакт, который остается замкнутым в течение всего времени работы двигателя. При отключении двигателя, когда частота вращения вала под действием тормозного момента становится близкой к О, РКС размыкает свой замыкающий контакт.
Рассмотрим работу схемы управления процессом торможения.
Включением автоматического выключателя SА1 подаются соответствующие напряжения питания на силовую схему (питание двигателя) и на схему управления. Система готова к работе.
Для того, чтобы включить двигатель, достаточно нажать на кнопку «Пуск» (SВ1). Последовательность замкнутых контактов (SВ2, SВ1 - кнопка нажата, и КМ2) образует цепь питания катушки, контактора КМ1, контактор срабатывает и замыкает свои замыкающие контакты и размыкает размыкающие. При этом: замыкаются силовые контакты КМ1 в цепи асинхронного двигателя, его статорная обмотка подключается к трехфазному напряжению и двигатель начинает работать; замыкается замыкающий блок-контакт, включенный параллельно кнопке SВ1 (самоподхват кнопки «Пуск»); размыкается размыкающий блок-контакт в цепи катушки контактора КМ2 (блокировка от одновременного срабатывания контакторов КМ1 и КМ2, что является аварийным режимом, т.к. включением контактора КМ2 осуществляется реверс путем переключения двух фаз, а это межфазное короткое замыкание).
Двигатель работает в номинальном режиме на естественной характеристике в течение всего рабочего цикла. Контакт реле контроля скорости КВК находится в замкнутом положении, обеспечивая готовность к работе цепь контактора КМ2.
Для останова двигателя нажимают кнопку SВ2 («Стоп»), цепь питания контактора КМ1 разрывается и он отключается, размыкая силовую цепь асинхронного двигателя и отключая блокировки. Образуется цепь питания катушки контактора КМ2, контактор срабатывает и замыкает свои контакты в силовой цепи (питание статорной обмотки двигателя по реверсной схеме), двигатель переходит в режим реверса и начинает тормозиться возникшим моментом противоположного знака. Одновременно размыкается блок-контакт в цепи питания контактора КМ1 (блокировка одновременного срабатывания двух контакторов КМ2 и КМ1 при случайном замыкании кнопки SВ1).
Режим торможения (противовключением) продолжается до тех пор, пока частота вращения вала двигателя не достигнет значения близкого к О. В этот момент реле контроля скорости разомкнет свой контакт КВR в цепи питания контактора КМ2, который отключится. Двигатель останавливается, все аппараты системы приходят в исходное состояние, т.е. обесточиваются.
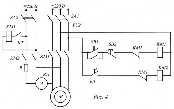
9.4. Схема автоматического управления динамическим торможением асинхронного двигателя.
Чтобы осуществить режим динамического торможения для асинхронного двигателя, необходимо его статорную обмотку отключить от сети трехфазного напряжения и любые две фазы этой обмотки подключить к сети постоянного напряжения. Схема 4 позволяет реализовать этот режим автоматически.
Для подготовки системы к работе включают автоматические выключатели SА1 и SА2. Таким образом, подаются соответствующие напряжения на силовую схему и схемы управления. Система готова к работе.
Чтобы включить двигатель, достаточно нажать на кнопку SВ1 («Пуск»). Последовательность замкнутых контактов (SВ2, SВ1 - кнопка нажата, и КМ2) образует цепь питания катушки контактора КМ1, контактор срабатывает и замыкает свои замыкающие контакты и размыкает размыкающие. При этом: замыкаются силовые контакты КМ1 в цепи асинхронного двигателя, его статорная обмотка подключается к трехфазному напряжению и двигатель начинает работать; замыкается замыкающий блок- контакт самоподхвата кнопки «Пуск»; размыкается размыкающий блок-контакт в цепи катушки контактора КМ2 (блокировка от одновременного срабатывания контакторов КМ1 и КМ», что недопустимо, т.к. в двигателе будут действовать одновременно два момента- двигательный, от вращающегося электромагнитного поля и тормозной, от постоянного магнитного поля) замыкается замыкающий контакт КМ1 в цепи контактора торможения КТ и подключает его к сети постоянного напряжения, контактор срабатывает и включает свой замыкающий контакт в цепи контактора КМ2 подготавливая эту цепь к работе.
Двигатель работает в номинальном режиме на естественной характеристике в соответствии с некоторым рабочим циклом.
Для останова двигателя нажимают кнопку SВ2 («Стоп»), разрывается цепь питания катушки контактора КМ1, контактор отключается и размыкая свои силовые контакты отключает статорную обмотку двигателя от трехфазной сети питания, выключает блокировки кнопки SВ1 и цепи питания контактора КМ2, а также отключает контактор торможения КТ. Однако цепь питания контактора КМ2 остается замкнутой, т.к. контакт КТ замыкающий контакт с выдержкой времени на размыкание. Контактор КМ2 срабатывает, блокирует цепь питания контактора КМ1 и своими замыкающими контактами КМ2 подключает постоянное напряжение в две фазы статорной обмотки, происходит динамическое торможение асинхронного двигателя.
Тормозной момент, а следовательно и ток в цепи, фиксируемый амперметром А и устанавливаемый сопротивлением К, определяют интенсивность динамического торможения. При необходимости шкала амперметра может быть проградуирована непосредственно в секундах.
Установка выдержки времени контактора КТ выбирается несколько большей, чем процесс торможения двигателя и при отключении временного контакта КТ система приходит в исходное положение, т.е. полностью обесточиваются все аппараты.
9.5. Схема автоматического управления двигателем постоянного тока.
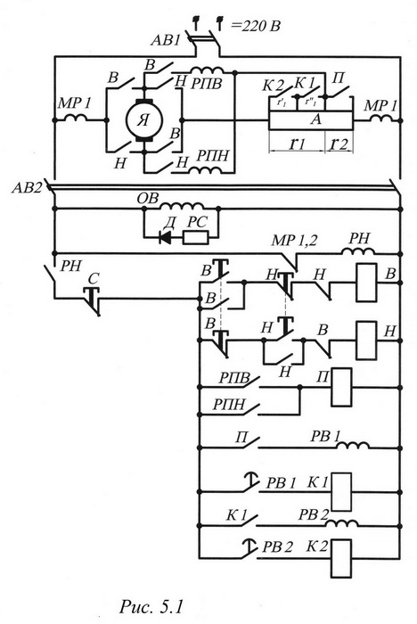
Рассматриваемая схема (Рис. 5.1) позволяет осуществить двухступенчатый пуск двигателя постоянного тока параллельного возбуждения в функции времени и торможение двигателя при реверсе в режиме противовключения, предусмотрены максимальная и нулевая защиты.
Силовая схема содержит: автоматический выключатель АВ1, с помощью которого подаётся напряжение питания, якорную обмотку двигателя постоянного тока с реверсивным мостиком из контактов В и Н, дополнительных сопротивлений r1 и r2, обеспечивающих с помощью контактов К1, К2 и П двухступенчатый пуск двигателя и его реверс в режиме противовключения, реле РПВ и РПН, обеспечивающих автоматизацию режимов пуска и реверса, а также реле МР1 и МР2, максимальной токовой защиты, представляющей собой защиту от возможных последствий короткого замыкания в электрической цепи и значительной перегрузки двигателя.
Напряжение питания в схему управления подается с помощью автоматического выключателя АВ2. В эту же схему включена обмотка возбуждения двигателя ОВ. Обмотка возбуждения шунтируется разрядным сопротивлением, которое, образуя разрядную цепочку предохраняет обмотку, имеющую большую индуктивность, от межвиткового пробоя при её отключении от цепи питания. Диод в цепи выполняет энергосберегающую функцию.
Нулевая защита представляет собой защиту от самопроизвольного пуска двигателя после перерыва в электроснабжении и возможных в этом случае аварий и несчастных случаев. Осуществляется нулевая защита с помощью реле РН. При исчезновении напряжения реле РН отключается, в результате чего прерывается цепь, по которой получают питание все аппараты схемы управления. Реле РН дублирует автоматический выключатель АВ2, который тоже имеет нулевую защиту, повышая тем самым надёжность защиты. Последующее включение реле РН возможно лишь при включении автомата АВ2, а включение двигателя только кнопками В и Н.
При срабатывании максимальной защиты тоже отключается вся схема управления посредством реле РН, так как размыкающие контакты реле МР1 и МР2 включены последовательно в цепь питания реле РН и отключают его.
Все рассматриваемые режимы работы двигателя постоянного тока параллельного возбуждения определяются механическими характеристиками, представленными на рис. 5.2.
Различные характеристики двигателя получаются за счёт изменения величины сопротивления в цепи якоря, что осуществляется с помощью контакторов П, К1 и К2.
Характеристики, расположенные в I квадранте, соответствуют двигательному режиму работы двигателя при вращении «вперёд» (включён контактор В), часть характеристики 1 в IV квадранте - тормозному режиму противовключения.
Характеристики 2 и 3 являются пусковыми и служат для ограничения тока и момента двигателя при его разгоне до естественной характеристики е.
При вращении «назад» двигатель подключается к сети контактором Н и имеет характеристики 1', 2', 3' и е' (такие же, как 1,2,3 и е). Характеристики, расположенные в III квадранте, соответствуют двигательному режиму при вращении двигателя «назад», часть характеристики 1 во II квадранте - тормозному режиму противовключения.
9.5.1. Автоматизация пуска двигателя.
Пусковые сопротивления двигателя постоянного тока r1 и r2 рассчитываются и выключаются в процессе пуска обычно таким образом, чтобы ток якоря и момент двигателя колебались примерно в одних и тех же, заранее выбранных пределах, между некоторыми максимальными Мmах и минимальными Мmin значениями (рис. 5.2).
Схема управления (рис. 5.1) работает следующим образом. При нажатии на кнопку В (пуск «вперёд») последовательность замкнутых контактов (замыкающий кнопки В, размыкающий кнопки Н и размыкающий контактора Н) образует цепь питания обмотки контактора В, контактор В срабатывает и замыкает свои замыкающие контакты и размыкает размыкающие. При этом: замыкаются два силовых контакта В в якорной цепи двигателя и замыкающий контакт B в цепи реле РПВ, которое настроено так (см. потенциальную диаграмму рис. 5.3), что при n=0 срабатывает и своим замыкающим контактом включает контактор П, который также срабатывает и своим замыкающим контактом шунтирует сопротивление противовключения r2. Цепь якоря двигателя оказывается подключённой к сети питания последовательно с пусковым сопротивлением r1= r1' + r1'' и двигатель начинает разгоняться по соответствующей реостатной характеристике 2.
Кроме того в схеме управления происходит следующая коммутация: замыкающий контакт В шунтирует пусковую кнопку В, осуществляя «самоподхват», а размыкающие контакты В контактора и пусковой кнопки в цепи контактора и пусковой кнопки в цепи контактора Н обеспечивают защиту от одновременного срабатывания контакторов В и Н, что влечёт за собой короткое замыкание в цепи якоря двигателя. Замыкающий контакт контактора П включает реле времени РВ1. С выдержкой времени замыкается контакт РВ1 в цепи контактора К1, контактор срабатывает и своим замыкающим контактом К1 шунтирует часть пускового сопротивления (r1') в цепи якоря двигателя. Двигатель, разогнавшись по характеристике 2 до скорости вращения вала n2, переключается на вторую реостатную характеристику 3 и продолжает разгоняться. Одновременно с этим замыкается замыкающий контакт К1 в цепи реле времени РВ2. Реле также обеспечивает выдержку времени и замыкает свой контакт в цепи контактора К2. Контактор К2 срабатывает и своим замыкающим контактом шунтирует вторую часть пускового сопротивления (r1'') в цепи якоря двигателя. Двигатель, разогнавшись по характеристике 3 до скорости вращения вала n3, переключается на естественную характеристику е и работает в двигательном режиме с установившейся скоростью nс.
Выдержки времени реле РВ1 и РВ2 рассчитаны на разгон двигателя по соответствующим механическим характеристикам, исходя из основного уравнения движения электропривода.
9.5.2. Автоматизация реверса.
Реверс двигателя включает в себя два последовательных этапа: торможение в режиме противовключения и последующий пуск двигателя в противоположную сторону.
Для ограничения тока и момента двигателя при торможении в режиме противовключения пускового сопротивления r1 оказывается недостаточно и в цепь якоря дополнительно включается сопротивление противовключения r2.
Переключение сопротивлений при реверсе двигателя производится в следующем порядке. Предположим, что двигатель работает с моментом М=Мс и скоростью nс (рис. 5.2). При реверсе вместо контактора В под действием кнопки «пуск назад» включается контактор Н, а в цепь якоря вводится как пусковое сопротивление r1, так и сопротивление противовключения r2. Указанным сопротивлениям соответствует характеристика 1, на которую и переходит двигатель при скорости nс. Под действием тормозного момента скорость двигателя сравнительно быстро уменьшается. При скорости n примерно равной О сопротивление r2 выключается, после чего начинается пуск в противоположную сторону в порядке, рассмотренном выше.
Процесс реверса автоматизируется с помощью реле противовключения РПВ и РПН, через контакты которых получает питание контактор П.
Очевидно, реле противовключения должны срабатывать при пуске (при n=0), когда в сопротивлении r2 нет необходимости, но не должны срабатывать при реверсе, пока двигатель не снизит скорость до n=0, работая в режиме противовключения.
Чтобы решить вопрос о выборе реле РПВ и РПН и точки А их присоединения к сопротивлениям r1 и r2, обратимся к выражениям напряжений на обмотках реле (см. рис. 5.1), которые могут быть получены с помощью II закона Кирхгофа для соответствующих контуров:
где U - напряжение сети, r1 и r2 - сопротивления, характеризующие точку А присоединения реле РПВ и РПН.
Как следует из уравнений, напряжения обмоток реле зависят от скорости вращения вала двигателя и т точки их присоединения к сопротивлениям (точка А). Выбрав точку присоединения таким образом, чтобы r1=r2, получим следующие уравнения:

Графики UРПВ(П) и UРПН(П) при r1=r2, приведены на рис. 5.3.
Если подобрать реле РПВ и РПН с напряжением срабатывания Uср= 0,5U, то при r1=r2 реле будут работать в требуемом порядке.
Предположим, что двигатель пускается в направлении «вперёд». В этом случае замыкающим контактом В подключается обмотка реле РПВ. Так как при n=0 UРПВ=0,5U=Uср, то реле РПВ срабатывает. При увеличении скорости в процессе разгона двигателя напряжение UРПВ возрастает, и поэтому реле РПВ остаётся включённым. Если при вращении двигателя «вперёд» нажать кнопку Н (пуск «назад»), то вместо обмотки реле РПВ будет подключена обмотка реле РПН. Однако, так как в начале реверса n=n0, то UРПН=0 (см. рис. 5.2 и 5.3) и реле РПН сработать не может. По мере снижения скорости в процессе торможения напряжение UРПН возрастает. При n=0 напряжение UРПН достигает 0,5 UРПВ=Uср и реле РПН срабатывает. При разгоне двигателя в противоположном направлении «назад» реле РПН остаётся включённым, так как UРПН при этом возрастает.


